温州大学招生与就业处办公室 地址:南校区科技综合大楼1号楼 二楼就业服务大厅 邮编:325035 邮箱:wdzjc@wzu.edu.cn 本科招生咨询电话:0577-86680800 校内职业生涯规划预约咨询电话:0577-86596077 就业服务热线: 0577-86680986 学生档案查询QQ群:699316493 用人单位服务QQ群:789384993 | ||
扫码关注-"温州大学就业" |
随着社会发展进程加快,职场竞争日趋激烈,大学生群体对生涯规划的重视程度显著提升。温州大学招生与就业联合会生涯规划部始终坚守初心使命,致力于为全校学子提供专业、全面的生涯规划服务。过去一年,部门深耕细作,积极搭建多元服务平台,通过系列活动助力学生明晰职业方向、锤炼求职技能,为其未来职业生涯发展筑牢根基。
一、生涯指导咨询
过去一年,生涯规划部将生涯指导咨询服务作为核心工作,构建了多层次、个性化的服务模式。通过一对一深度咨询、团体辅导沙龙等多种形式,精准对接不同学生的发展需求,实现服务全覆盖。
咨询内容聚焦学生核心诉求,全面涵盖职业规划制定、求职技巧提升、职业素养培育等关键领域。部门结合学生的专业背景、兴趣特长及职业愿景,提供量身定制的指导方案,助力学生精准认知自我、明确职业发展路径,有效提升求职核心竞争力。
为持续优化服务质量,部门不断强化自身专业能力建设。定期组织内部培训与行业知识分享会,系统提升团队成员的咨询接待技巧与专业素养;同时建立健全学生反馈机制,广泛收集意见建议,持续迭代咨询流程、丰富服务内容,确保服务始终贴合学生实际需求。
显著的服务成效得到了学生的广泛认可。咨询回访显示,经过个性化指导后,90%的学生对自身职业方向的认知更加清晰,绝大部分学生在求职过程中获得了实质性帮助。这充分彰显了生涯指导咨询服务在助力学生职业发展中的重要作用,也为部门后续工作的推进奠定了坚实基础。
二、生涯指导推文
本年度,生涯规划部以推文为核心传播载体,构建了常态化的生涯指导内容输出机制。围绕职业规划制定、行业动态解析、求职技巧提升等核心主题,精心撰写了一系列兼具实用性与趣味性的文章,并通过微信、微博等主流社交媒体平台广泛传播,向学子们精准传递生涯规划理念,普及求职方法,助力其深入了解职业世界,全方位提升就业竞争力。
为提升推文传播力与影响力,部门始终坚守内容为王的原则,深耕质量提升与形式创新。推文创作中融入生动案例解析、实用技巧总结及行业前沿资讯,增强内容可读性与吸引力,有效激发学生的阅读与转发热情。同时,建立高效的用户反馈响应机制,根据学生建议持续优化推文内容结构与发布频率,确保推送内容精准匹配学生需求。
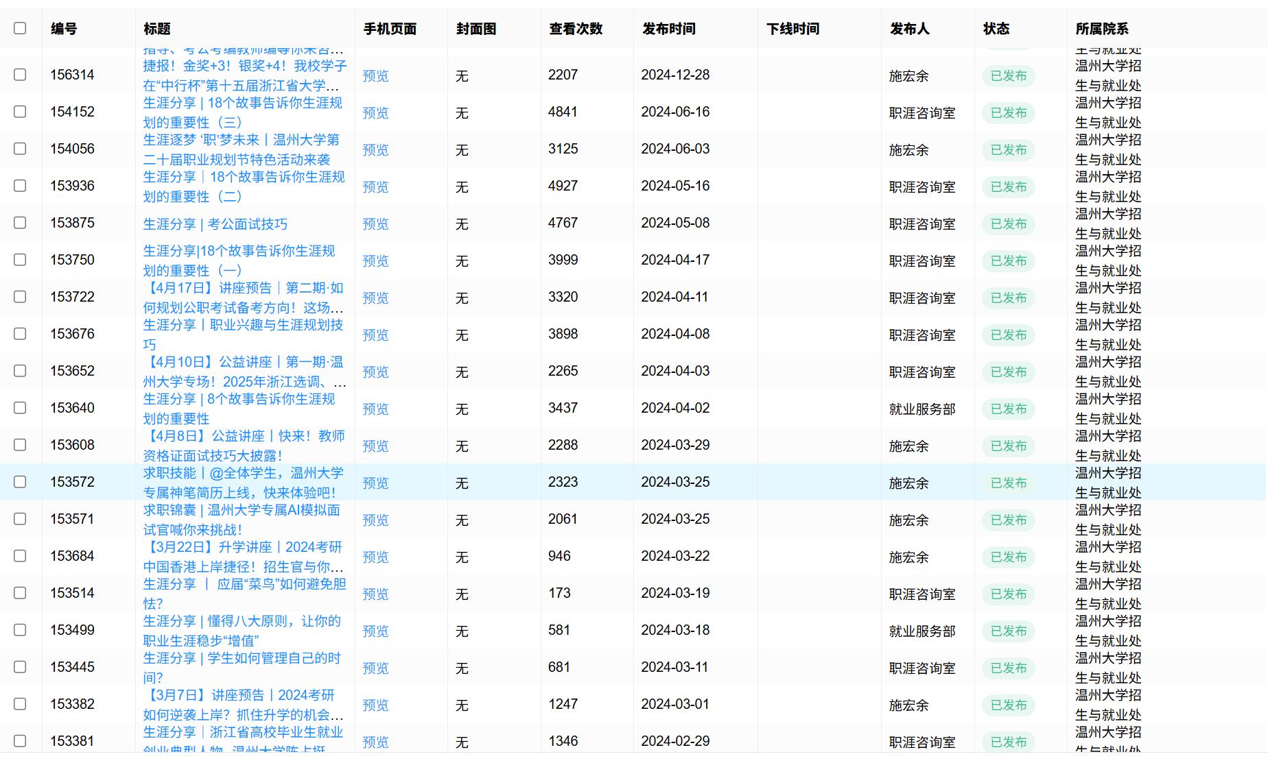
截至年末,部门累计发布生涯指导推文20篇,总阅读量突破45000次,其中单篇最高阅读量达4841次。亮眼的数据充分印证了推文内容的实用性与吸引力,彰显了线上传播渠道在生涯指导工作中的重要作用,也体现了广大学生对优质生涯规划内容的高度认可。

三、生涯教育
在生涯教育工作中,部门以讲座为核心抓手,精心策划并举办了一系列主题丰富的生涯教育活动。聚焦职业规划、行业发展、求职技巧等关键领域,广泛邀请各行业资深嘉宾莅临分享,凭借其丰富的职业经验与深刻的行业洞察,为学生解析不同行业的发展趋势与前景,传授实用的求职技巧与面试策略,为学子们搭建了与职场接轨的优质桥梁。
本年度,部门累计举办各类讲座60余场,线下覆盖学生5000余人次,并创新采用线上直播形式扩大活动覆盖面,吸引500余名学生在线参与;同时成功组织9场仿真模拟考试,助力学生提前熟悉求职考试流程,提升应试能力。活动在数量与参与度上均实现显著突破,成效斐然。
活动质量与效果获得学生高度认可。问卷调查显示,90%的学生对讲座内容表示满意或非常满意,85%的学生认为讲座对其职业规划产生了积极影响。这一系列数据充分彰显了生涯教育活动在助力学生职业发展中的重要价值,为后续工作的深化开展提供了有力支撑。


(一)选调生研修特训营
在10月2日上午,温州大学“青云班”选调生研修计划特训营顺利开营,本次公益培训为期3天,我们负责好每场签到等工作。
(二)“宏志助航计划” 温州大学基地培训班
11月16日上午,2025年度“中央专项彩票公益金宏志助航计划”全国高校毕业生就业能力温州大学基地培训班在温州大学科技综合大楼就业服务一体化空间顺利开班。本次培训持续3周,在周末时间,我们积极配合各项任务,完成出色。


(三)温州大学生涯规划大赛
为我校大学生职业规划能力和实现创新创业能力的有效实践,11月27日下午,“筑梦青春志在四方,规划启航职引未来”——温州大学第十六届职业规划大赛总决赛暨颁奖典礼在科技综合大楼就业服务一体化空间举行。本次活动负责安排场地以及统分等事宜。优异者在浙江省十四届职规赛中也获得了3金5银7铜,期间配合老师开展2次赛前指导活动。


四、总结过往,蓄力启航新篇章
回首本年度,生涯规划部深耕生涯指导咨询、推文传播、讲座活动三大核心板块,各项工作取得阶段性成效。通过构建多元化、个性化的服务体系,切实助力学子明晰职业方向、提升求职能力,为其职业生涯发展注入了强劲动力。
在肯定成绩的同时,我们也清醒地认识到工作中的不足。咨询服务层面,团队专业能力仍有提升空间,需进一步强化系统化培训,增强服务的精准度与针对性;推文传播方面,内容深度与时效性有待加强,需更快速捕捉行业动态,传递前沿资讯;讲座活动中,师生互动机制尚需完善,需进一步优化内容设计与呈现形式,提升学生参与感与获得感。
展望未来,生涯规划部将以问题为导向,精准发力补短板、提质增效促发展。我们将深化与各部门的协同合作,积极拓展资源渠道,持续丰富服务内容、创新服务模式,为学子提供更全面、更优质的生涯规划支持。同时,也期待广大学生积极参与各类生涯规划活动,主动提升职业素养与求职竞争力。
新征程上,生涯规划部将始终坚守“服务学生”的初心使命,锐意进取、开拓创新,不断提升工作质量与服务水平,为助力学生实现职业理想、绽放人生光彩提供更坚实、更有力的保障。